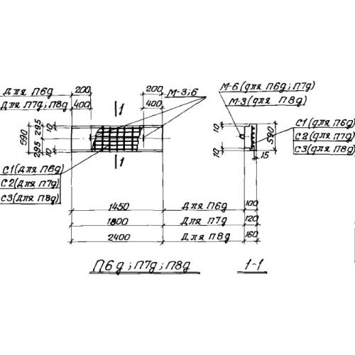
П 8 д плиты перекрытия

Чертеж изделия:
Характеристики изделия:
ПараметрЗначение
длина590 мм
ширина2400 мм
высота160 мм
масса580 кг
нормативный документСерия ИС 01-04

П 8 д  Плиты перекрытия доборные по Серии ИС 01-04.