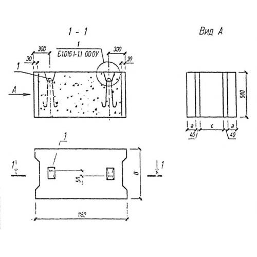
ФБС 12.4.6

Чертеж изделия:
Характеристики изделия:
ПараметрЗначение
длина1180 мм
ширина400 мм
высота580 мм
масса640 кг
нормативный документСерия Б 1.016.1-1

ФБС 12.4.6  Фундаментные блоки сплошного сечения по Серии Б 1.016.1-1.