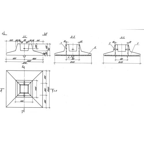
2ФР 2 фундамент

Чертеж изделия:
Характеристики изделия:
ПараметрЗначение
длина2400 мм
ширина2400 мм
высота750 мм
масса4180 кг
нормативный документСерия 3.900.1-10

2ФР 2 Блоки фундаментные стаканного типа по Серии 3.900.1-10.