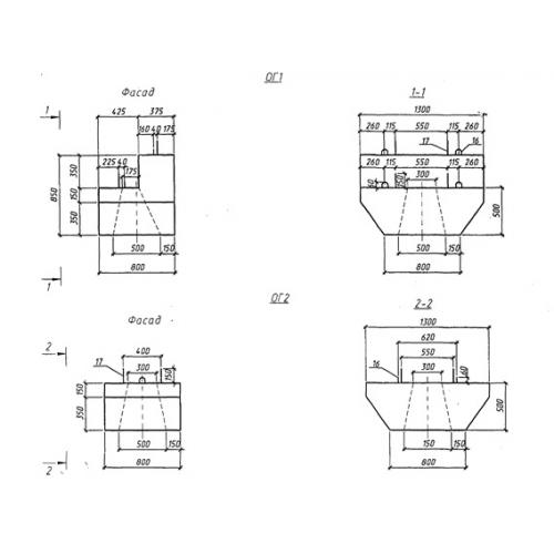
ОГ 1

Чертеж изделия:
Характеристики изделия:
ПараметрЗначение
длина1300 мм
ширина800 мм
высота850 мм
вес1400 кг
серия3.501-180.95

ОГ 1 Оголовки по серии 3.501-180.95.