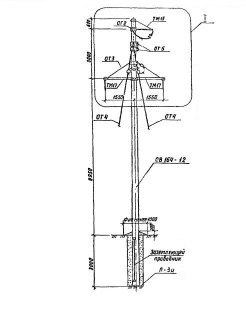
К 16.4

Чертеж изделия:
Характеристики изделия:
ПараметрЗначение
длина16400 мм
ширина390 мм
высота380 мм
масса4260 кг
нормативный документСерия 3.407.1-143

К 16.4   Концевые опоры  Серия 3.407.1-143.