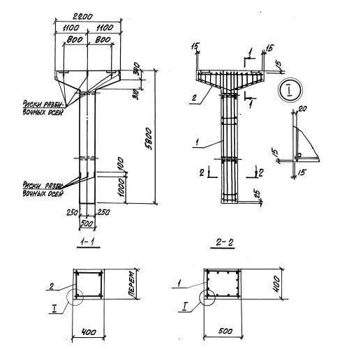
К 7

Чертеж изделия:
Характеристики изделия:
ПараметрЗначение
длина5800 мм
ширина2200 мм
высота400 мм
вес3800 кг
серия3.016.1-17.93

К 7 Колонны по серии 3.016.1-17.93.