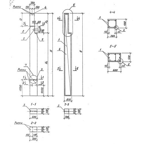
К 43 колонна сборная
Характеристики изделия:
| Параметр | Значение |
|---|---|
| длина | 8900 мм |
| ширина | 600 мм |
| высота | 600 мм |
| масса | 4700 кг |
| нормативный документ | Серия 3.015-1/92 |
Цена:
Рассчитать стоимостьК 43 Колонны сборные Серия 3.015-1/92.
| Параметр | Значение |
|---|---|
| длина | 8900 мм |
| ширина | 600 мм |
| высота | 600 мм |
| масса | 4700 кг |
| нормативный документ | Серия 3.015-1/92 |
К 43 Колонны сборные Серия 3.015-1/92.
