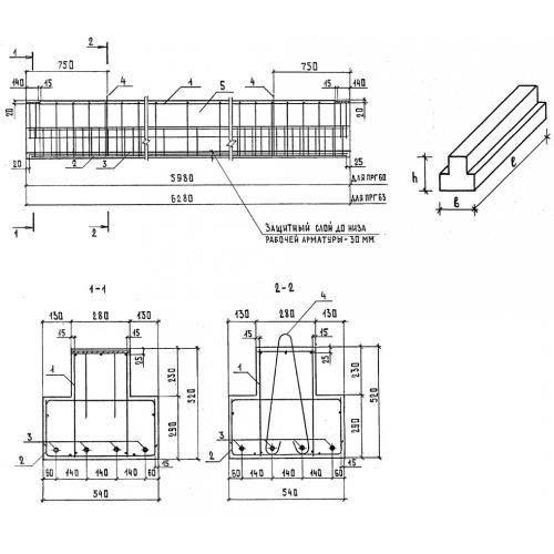
ПРГ 60.5 прогоны таврового сечения

Чертеж изделия:
Характеристики изделия:
ПараметрЗначение
длина5980 мм
ширина540 мм
высота520 мм
масса3300 кг
нормативный документСерия 1.225-2

ПРГ 60.5  Прогоны таврового сечения Серия 1.225-2.