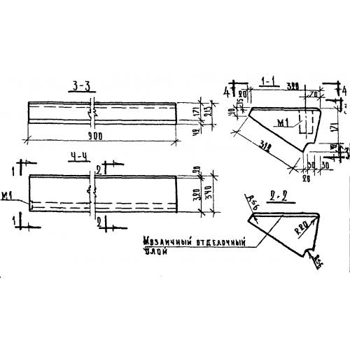
ЛС 9-17 ступени лестничные

Чертеж изделия:
Характеристики изделия:
ПараметрЗначение
длина900 мм
ширина340 мм
высота171 мм
масса100 кг
нормативный документСерия 1.155-1

ЛС 9-17  Лестничные ступени Серия 1.155-1.