П 31.48.12

Чертеж изделия:
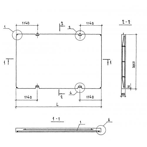
Характеристики изделия:
ПараметрЗначение
длина4780 мм
ширина3060 мм
высота120 мм
серия1.143.1-7

П 31.48.12 Плиты перекрытий по серии 1.143.1-7.