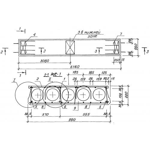
ПК 62.10

Чертеж изделия:
Характеристики изделия:
ПараметрЗначение
длина6160 мм
ширина990 мм
высота220 мм
вес1783 кг
серия1.141.1-40с

ПК 62.10 Круглопустотные плиты перекрытия высотой 220 мм по серии 1.141.1-40с.