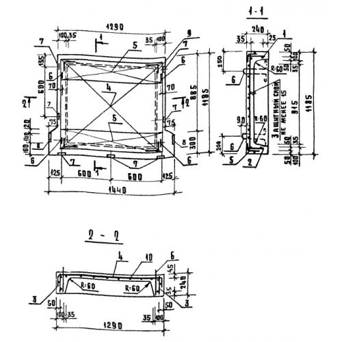
ЛП 15.12

Чертеж изделия:
Характеристики изделия:
ПараметрЗначение
длина1440 мм
ширина1185 мм
высота240 мм
масса490 кг
нормативный документСерия 1.020-1

ЛП 15.12  Лестничные площадки Серия 1.020-1.