ВТ 12

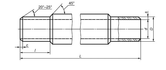
Чертеж изделия:
Характеристики изделия:
ПараметрЗначение
длина5950 мм
ширина224 мм
высота224 мм
масса185,64 кг
нормативный документГОСТ 31416-2009

ВТ 12   Асбоцементные напорные трубы ГОСТ 31416-2009.